If you’ve ever struggled to find the right shoe size, you’re not alone. With so many different sizing systems out there, it can be confusing to know what size to buy. That’s where a Brannock Shoe Size Chart Printable can come in handy.
By using a Brannock Shoe Size Chart Printable, you can easily determine your correct shoe size in both length and width. This can help you avoid the frustration of ordering shoes online only to find out they don’t fit properly when they arrive.
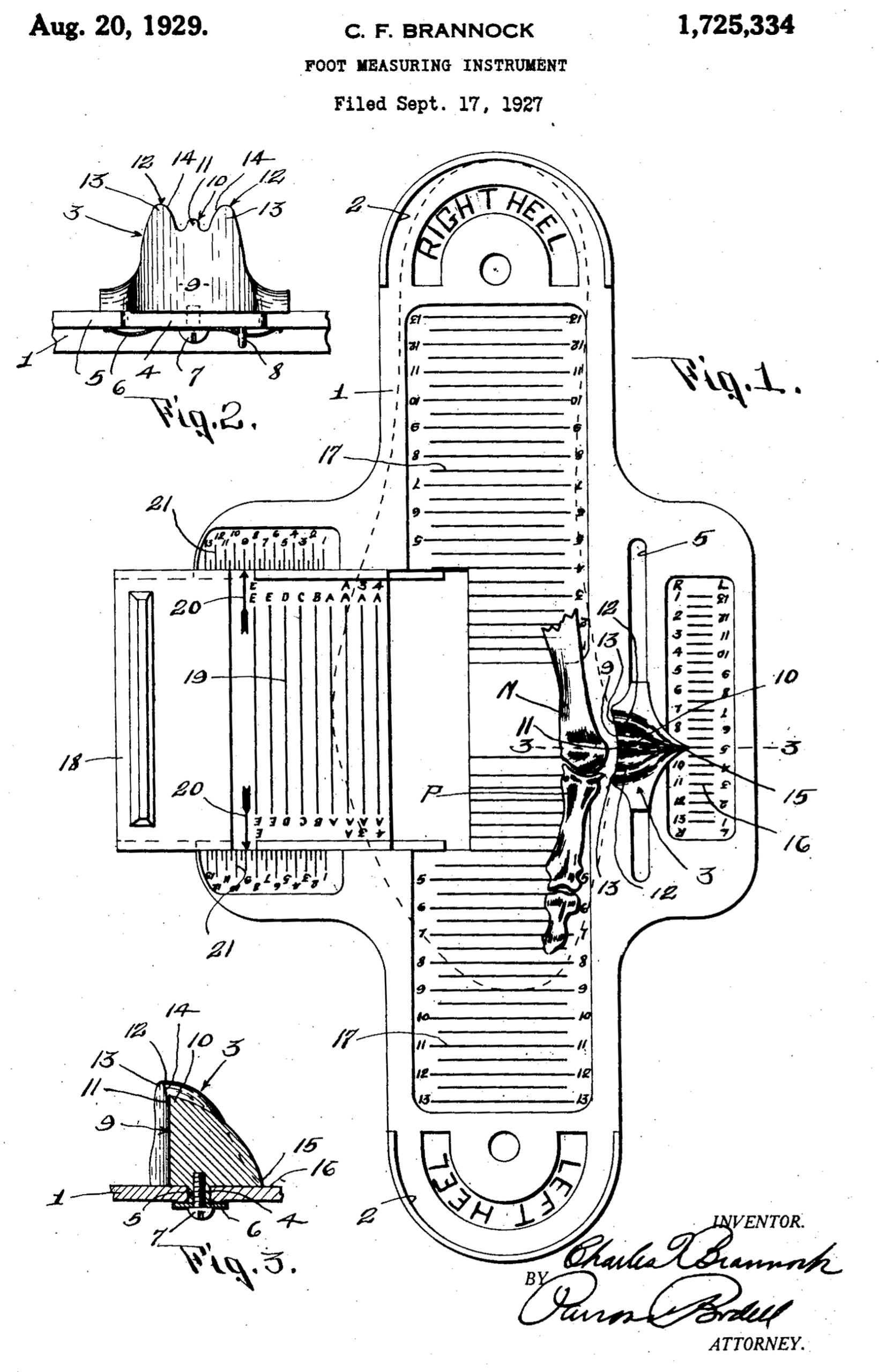
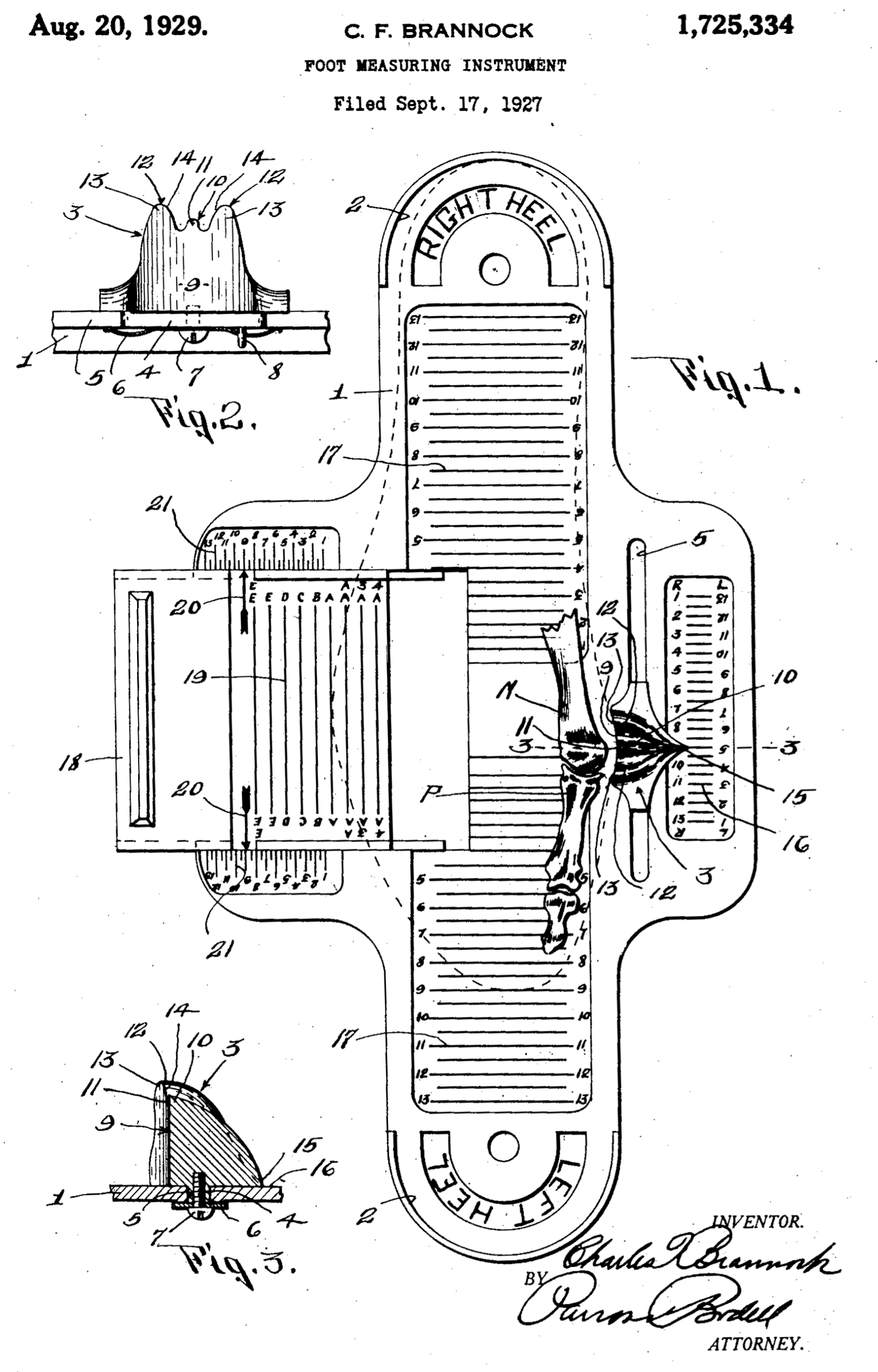
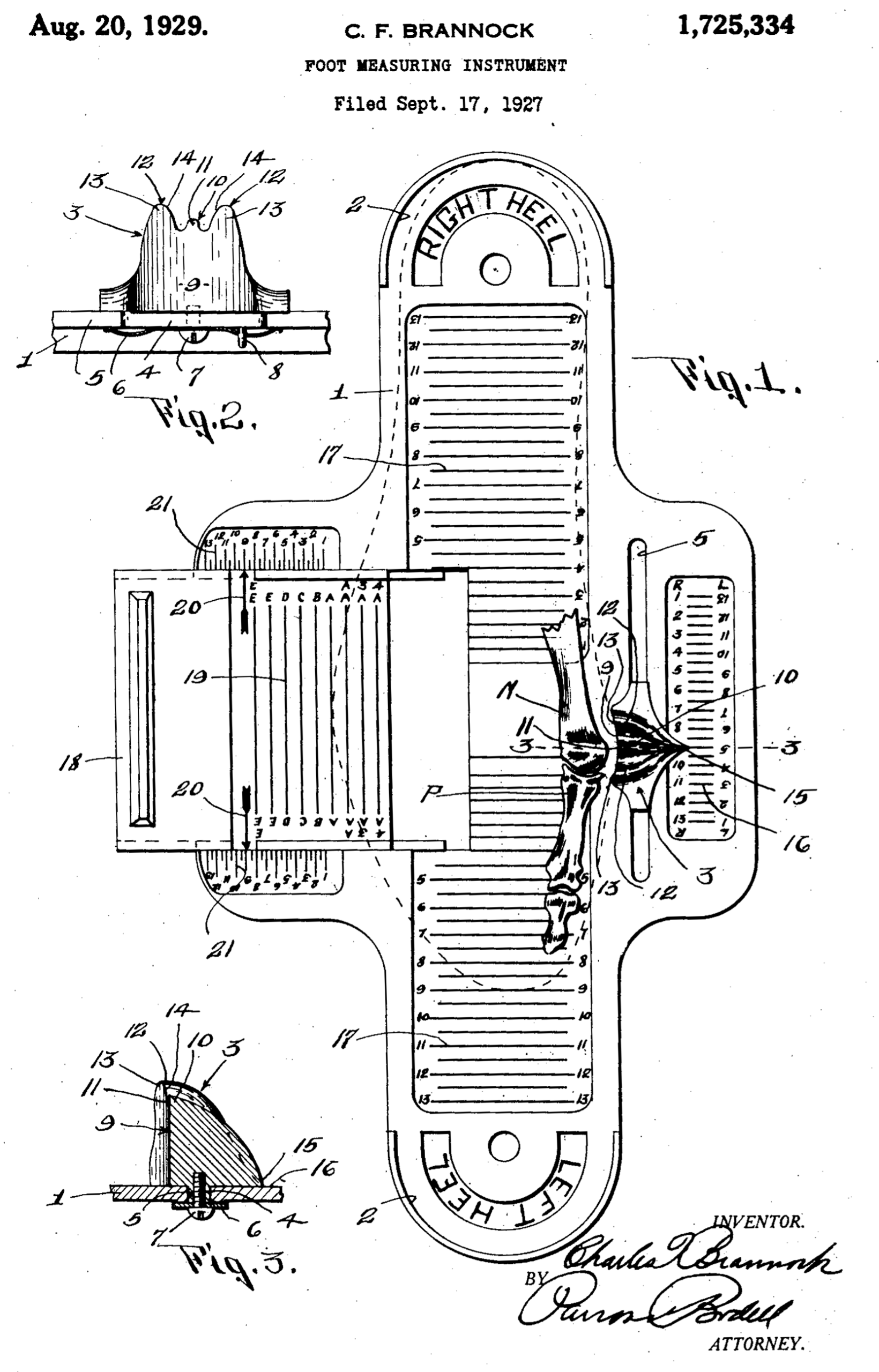
Brannock Shoe Size Chart Printable
Brannock Shoe Size Chart Printable
Simply print out the Brannock Shoe Size Chart Printable, follow the instructions on how to measure your foot, and voila! You’ll have your exact shoe size in no time. This handy tool can save you time and money by ensuring you get the right fit every time.
Whether you’re shopping for running shoes, dress shoes, or sandals, having an accurate shoe size can make all the difference in how comfortable and supportive your footwear is. With a Brannock Shoe Size Chart Printable, you’ll never have to guess your size again.
So next time you’re in the market for new shoes, don’t stress about finding the right fit. Simply use a Brannock Shoe Size Chart Printable to take the guesswork out of shoe shopping and ensure you get the perfect pair every time.
With a Brannock Shoe Size Chart Printable, you can shop with confidence knowing that your shoes will fit like a glove. Say goodbye to ill-fitting footwear and hello to comfort and style with the help of this handy tool.
Brannock Device Size Chart
Conversion Chart Brannock Device Width Chart Sizing Question based On Brannock Measurements R NicksHandmadeBoots
Brannock Device Wikipedia
Toddler Foot Measurement Chart Size Chart Measuring Baby Feet For Shoes Brannock Device Feet
Brannock Foot Measurement Tool Printable Size Chart Measuring Baby Feet For Shoes Brannock Device Feet




